Артикул:
ПГА-5000/1 LCV
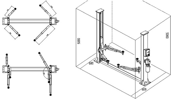
Двухстоечный электрогидравлический подъемник ПГА-5000/1 (высокая версия для LCV)
Подъемник двухстоечный ПГА-5000/1 (высокая версия для LCV) предназначен для подъема легковых автомобилей, микроавтобусов, «джипов» и легких грузовиков типа «Газель» общей массой до 5 т. Электроуправление подъема и опускания. Стационарный, гидравлический.
Высота подъемника ПГА-5000/1 (высокая версия для LCV) (регулируемая) 4712-4962 мм. Расстояние между стойками 2820 мм. Расположение стоек - симметричное. Удлиненные 3-х секционные подхваты.
Основные улучшения ПГА-5000/1 (LCV)
• Изменена конструкция подхватов - исключено провисание
• Машины с низким клиренсом легко обслуживать на подъемнике SIVIK. Высота подхвата снижена со 130 мм до 108 мм.
• Упрощена сборка подъемника. Изменена конструкция крепления подхватов. Подхват накидывается верхней петлей на ось и замыкается снизу сектором системы блокировки.
• Дистанционная шайба между подхватом и кареткой защищает краску от истирания
• Исключен один из люфтов из системы удержания автомобиля за счет неподвижности оси каретки.
Специальный «гнутый» профиль:
Применение специального «гнутого» профиля позволяет добиться высокой жесткости колонн при минимальных размерах и массе. Удлиненная каретка гарантирует равномерное распределение нагрузки по всей высоте колонны. Каждый подъемник испытывается с превышением номинальной нагрузки на 25% (статическая) и 10% (динамическая).
Симметричное расположение стоек
Симметричное расположение колонн обеспечивает большую устойчивость на лапах тяжелых и крупных автомобилей
Автоматические стопорные устройства
Благодаря автоматическим стопорным устройствам подхваты подвижны только в крайнем нижнем положении.
Верхняя синхронизация
Отсутствие нижней связи позволяет легко устанавливать на подъемник любые, в том числе аварийные, а/м
Электродвигатель работает только на подъем
Электродвигатель работает только на подъем, опускание производится за счет собственного веса автомобиля.
Безопасное удержание
Безопасное удержание а/м обеспечивается стопорением через каждые 10 см на обеих колоннах.
Не нагруженная тросовая синхронизация
Не нагруженная тросовая синхронизация исключает перекос при подъеме и обеспечивает плавность хода.
Электрический замок
Электрический замок обеспечивает защиту от несанкционированного использования подъемника
Система защиты а/м
Система защиты а/м автоматически прекращает подъем при соприкосновении крыши а/м и страховочной планки.
Мин. высота подхвата, мм 108
Высота подъема, мм 1858-2053
Расстояние между стойками, мм 2820
Время подъема, сек 60
Давление в гидросистеме, Бар 180
Напряжение питания, В 380
Габаритные размеры, мм 430х3736х4962
Производитель SIVIK (Россия)
Подъемник двухстоечный ПГА-5000/1 (высокая версия для LCV) предназначен для подъема легковых автомобилей, микроавтобусов, «джипов» и легких грузовиков типа «Газель» общей массой до 5 т. Электроуправление подъема и опускания. Стационарный, гидравлический.
Высота подъемника ПГА-5000/1 (высокая версия для LCV) (регулируемая) 4712-4962 мм. Расстояние между стойками 2820 мм. Расположение стоек - симметричное. Удлиненные 3-х секционные подхваты.
Основные улучшения ПГА-5000/1 (LCV)
• Изменена конструкция подхватов - исключено провисание
• Машины с низким клиренсом легко обслуживать на подъемнике SIVIK. Высота подхвата снижена со 130 мм до 108 мм.
• Упрощена сборка подъемника. Изменена конструкция крепления подхватов. Подхват накидывается верхней петлей на ось и замыкается снизу сектором системы блокировки.
• Дистанционная шайба между подхватом и кареткой защищает краску от истирания
• Исключен один из люфтов из системы удержания автомобиля за счет неподвижности оси каретки.
Специальный «гнутый» профиль:
Применение специального «гнутого» профиля позволяет добиться высокой жесткости колонн при минимальных размерах и массе. Удлиненная каретка гарантирует равномерное распределение нагрузки по всей высоте колонны. Каждый подъемник испытывается с превышением номинальной нагрузки на 25% (статическая) и 10% (динамическая).
Симметричное расположение стоек
Симметричное расположение колонн обеспечивает большую устойчивость на лапах тяжелых и крупных автомобилей
Автоматические стопорные устройства
Благодаря автоматическим стопорным устройствам подхваты подвижны только в крайнем нижнем положении.
Верхняя синхронизация
Отсутствие нижней связи позволяет легко устанавливать на подъемник любые, в том числе аварийные, а/м
Электродвигатель работает только на подъем
Электродвигатель работает только на подъем, опускание производится за счет собственного веса автомобиля.
Безопасное удержание
Безопасное удержание а/м обеспечивается стопорением через каждые 10 см на обеих колоннах.
Не нагруженная тросовая синхронизация
Не нагруженная тросовая синхронизация исключает перекос при подъеме и обеспечивает плавность хода.
Электрический замок
Электрический замок обеспечивает защиту от несанкционированного использования подъемника
Система защиты а/м
Система защиты а/м автоматически прекращает подъем при соприкосновении крыши а/м и страховочной планки.
Технические характеристики ПГА-5000/1 (LCV)
Грузоподъемность, кг 5000Мин. высота подхвата, мм 108
Высота подъема, мм 1858-2053
Расстояние между стойками, мм 2820
Время подъема, сек 60
Давление в гидросистеме, Бар 180
Напряжение питания, В 380
Габаритные размеры, мм 430х3736х4962
Производитель SIVIK (Россия)
|
Страна производства
|
Россия |
|
Бренд
|
SIVIK (Россия) |
|
Синхронизация
|
верхняя |
|
Тип подъемника
|
стационарный |
|
Выс.подъем.для подъемников
|
2053 |
|
Мин.подх.для подъемников
|
108 |
|
Грузоподъемность подъемника
|
5000 |
|
Вид подъемника
|
легковой |
|
Тип привода подъемника
|
электрогидравлический |
|
Напряжение питания
|
380 |
|
Разблокировка подъемника
|
электро-съем |
Отзывы
Оставить отзыв
Загрузка отзывов...
Вы можете воспользоваться одним из следующих вариантов оплаты:
- Оплата наличными. Мы принимаем наличные деньги (только рубли) через кассовый фискальный аппарат.
- Безналичный расчет для юридических и частных лиц.
- Оплата банковской картой. Оплата происходит через ПАО СБЕРБАНК с использованием Банковских карт следующих платежных систем: VISA, VISA Electron, Maestro, MasterCard, МИР
Товар можно получить одним из следующих способов:
- Самовывоз товара с пункта выдачи по адресу в вашем городе.
- Курьерская доставка с 9-00 до 23-00 по рабочим дням. Покупатель обязуется разгрузить оборудование собственными силами и в кратчайшие сроки. Простой автомобиля оплачивается отдельно.
- Доставка одной из следующих транспортных компаний: "ПЭК" (Первая Экспедиционная Компания), "ЖДЭ" (ЖелДорЭкспедиция), "ЭНЕРГИЯ", "ДЕЛОВЫЕ ЛИНИИ", "СДЭК" и другие.

